Multichannel Microphone Array Design

5 Channel Microphone Array Design for
SURROUND SOUND RECORDING
using CARDIOID Microphones
FTC 100° + 100°

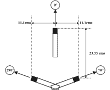
Stage Two - Microphone Configuration for the Front Triplet Coverage of 100° + 100°

There are many microphone configurations that will produce a Front Triplet Coverage of 100° + 100°.
Here are a few possible combinations showing both the distance and the orientation of the microphones.
Click on the required combination to go to the next stage in the MMAD process.

BACKTRACKS
CROSSTRACKS

Home Page

Microphone Array
Design

Microphone Support
Systems

SRA
Measurement

Publications
Papers & Books

Videos &
File Downloads

CHANNELS / COVERAGE

2Ch (Stereo)

3Ch (FSSC)

4Ch (SRND)

4Ch (FSSC)

5Ch (SRND)

5Ch (FSSC)

7Ch (SRND)

DIRECTIVITY

Omnidirectional

Hypocardioid

Cardioid

Supercardioid

Hypercardioid

Bidirectional

STAGE ONE / FTC

100° + 100°

90° + 90°

80° + 80°

70°+ 70°

60°+ 60°