Multichannel Microphone Array Design

5 Channel Microphone Array Design for
SURROUND SOUND RECORDING
using HYPOCARDIOID Microphones
FTC 100° + 100°

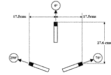
Stage Two - Microphone Configuration for the Front Triplet Coverage of 100° + 100°

There are many microphone configurations that will produce a Front Triplet Coverage of 100° + 100°.
Here are a few possible combinations showing both the distance and the orientation of the microphones.
Click on the required combination to go to the next stage in the MMAD process.

100° / 27.5cm

90°/ 29cm

80°/ 31cm

70°/ 32.5cm

60° / 34.5cm

50° / 36.5cm

40° / 39cm

30° /

No solutions are available with satisfactory Critical Linking

BACKTRACKS
CROSSTRACKS

Home Page

Microphone Array
Design

Microphone Support
Systems

SRA
Measurement

Publications
Papers & Books

Videos &
File Downloads

CHANNELS / COVERAGE

2Ch (Stereo)

3Ch (FSSC)

4Ch (SRND)

4Ch (FSSC)

5Ch (SRND)

5Ch (FSSC)

7Ch (SRND)>

DIRECTIVITY

Omnidirectional

Hypocardioid

Cardioid

Supercardioid

Hypercardioid

Bidirectional

STAGE ONE / FTC

100° + 100°

90° + 90°

80° + 80°

70°+ 70°

60°+ 60°